Nuclear Medicine

Sarcoidosis

  • Lambda sign

    • Hilar lymphadenopathy looks like greek letter lambda

  • Panda sign

    • Seen on Gallium-67-citrate studies

    • Uptake in parotid and lacrimal glands (abnormal) and nasopharyngeal tissue (normal) makes it look like face of a panda

    • Lymphoma and Sjogran also in differential

PSMA

  • Will see salivary glands are dark if PSMA is used

General

  • Appendicular skeleton = extremities, pelvis

  • Axial skeleton = skull, spine, thoracic girdle

  • Bome is essentially made up of calcium, phosphate and hydroxyl ions so the agents used will be related to these in some way

  • Most commonly used agent = methylene diphosphate labeled with Tc (Tc-MDP)

  • Complications

    • Administer 4+ hours after tracer is prepped —> gastric and thyroid visualization as a result of free Tc

    • Air injected during prep —>Tc becomes oxidized and poor phosphate tagging, idk shitty images i guess

Bone Scan

  • Tracer = Methylene Diphosphate (MDP), typically tagged with Tc

    • T1/2 = 6 hours

    • Energy = 140 keV

    • MDP only shows you osteoblastic activity, (if not remodeling then won’t be MDP pos)

    • Will be used in the osteoblastic phase where it basically gets included in the rebuilding process

    • Chemisorption = MOA

      • Basically chemical reaction between surface and the absorbed tissue, something like this

    • MDP has to be tagged with Tc to be able to actually see anything

      • In order to do this you mix the MDP + free Tc + stannous ions

        • If have contamination of this process with water or air (pull back on syringe) or not enough stannous ions (tin) you will have more free Tc than can bind and you will have uptake in the study in the salivary glands

        • Water contamination = liver will look hot = because you will form Tc-dioxide and Sn-colloid (tin colloid)

        • Air contamination = free Tc = hot salivary glands, gastric tissue, thyroid

        • Not enough stannous ions = same as air contamination = free Tc

  • Typically has 3 phases when done

    • Phase 1 = Flow phase

      • Images obtained every 5 sec for 1 min after administration

      • Shows the perfusion (blood flow) to the area

    • Phase 2 = Blood pool phase = soft tissue phase

      • 5 min after administration

      • Basically how much fluid is in tissue, based on principle that inflammation causes capillary permeability and leak

    • Phase 3 = Delayed phase

      • Obtained 2-4 hours after administration

      • Uptake depends primarily on rate of new bone formation/remodeling

  • Fractures

    • After a fracture an osteoclast will come first and resorb the bone

    • Then you will get osteoblasts who put down new bone

    • There is increased vascularity in this process

    • Process requires

      • Vit D

      • Osteoblasts

      • Blood flow

  • Normal bone scan

    • Increased uptake where there is trabecular (cortical) bone

      • Spine for example

    • Can faintly see kidneys

    • Some uptake in bladder

    • Mild symmetric uptake in breast

    • Low level in soft tissues

    • Epiphysis in kids

  • Osteomyelitis

    • Difficult to evaluate on bone scan because of overall poor perfusion to feet and small vessels

    • Use a 4th phase protocol

      • Gets you additional images at 24 hours —> gives you the most bone uptake after most has left the soft tissues so easier to see

  • Metastatic disease

    • Focal area of increased radiotracer uptake

    • Typically multiple lesions, if a single lesion less likely but still possible to be a met with one exception

      • A single lesion in the sternum is highly suggestive of metastatic disease

    • Flare phenomenon

      • Within first 3 months of chemo there may be increased tracer uptake in osseous metastatic lesions which is a good thing and indicates healing bone but commonly mis-interpreted as progression

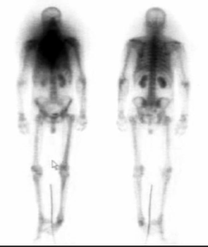
  • Superscan

    • Diffuse uniform tracer uptake throughout the skeleton

    • Will see concurrent decreased renal activity

    • Most commonly due to prostate carcinoma

    • Other things looking similar if no cancer —> hyperparathyroidism

  • Benign bone lesions with intense uptake

    • Osteoid osteoma - classic case

    • Fibrous dysplasia

    • Giant cell tumor

    • Osteoblastoma

    • ABC (likely centrally cold with hot rim)

Free Tc

  • Hardly see bones (no bone uptake)

  • Uptake in stomach

  • Uptake in salivary glands

  • Uptake in thyroid

Arterial Intravasation

  • Hot glove sign

  • Radiotracer goes into artery and goes distally (cause arteries push blood distally)

  • Obviously can have some in vein too

Hot kidneys

  • Bone scan with very hot kidneys AND whole kidneys are hot not only part of it

    • Ddx:

      • Chemo therapy

      • Urinary tract obstruction

  • Bone scan and kidneys are hot but only the cortex is hot, not the whole kidney

    • Hemochromatosis

  • Note: looks like octreotide study but here you see bones and do not see spleen

Enchondroma

  • Focal area of uptake in the right humeral neck (inferior and lateral most spot)

  • The other two areas are degenerative

  • Get a radiograph and shows rings and arcs

Paget’s Disease

  • Excessive bone remodeling

  • Mickey mouse sign

    • Increased tracer uptake in spine and posterior elements making mickey mouse head type look

  • Black beard sign

    • Increased uptake in mandible making it look like a black beard

Fibrous Dysplasia

  • Enlarged and deformed bone with strong uptake

  • Plain film will show expansile, lytic lesion with ground glass

MSK Nuclear Medicine

Scaphoid Fracture

Wrong Window applies

  • Windows are used to look at and separate true photons and scattered photons

  • These photons will exclude low energy photons

  • Here the energy window was set too low so you only get the scatter photons and not the good ones

Myositis Ossificans

  • Small focal area of uptake in the right lower extremity

  • Next step - get a CT and you will likely see calcified shit

  • Bright because MDP gets laid down because of calcification depositing I believe is the MOA

Shin Splints (Medial tibial stress syndrome)

  • Seen as diffuse uptake in the posterior-medial tibial cortex

  • Best visualized on the delayed static images

    • Note: stress fracture will typically have early uptake

  • Arterial and blood pool images are normal

Recent radioactive tracer adminsitration

  • In this case for thyroid

Hardware Loosening

  • Bone scan is positive in all 3 phases (left)

  • In-111 WBC scan shows no increased uptake (right)

Hypertrophic Osteoathropathy

  • Look at shins and you will see linear areas of high uptake along periosteum

  • Called tram tracking

  • Next step - likely CT chest for lung cancer eval

  • Other DDx:

    • Hypoxia, cyanotic heart disease, pulmonary pathology

Sickle Cell

  • Infarcted spleen

Rhabdomyolysis

  • Uptake within the soft tisues

  • Here it is seen with the psoas muscles

Normal kid

  • Uptake in epiphysis in kids - normal

Osteoid Osteoma

  • Focal area of uptake in lumbar spine of kid with scoliosis

  • Double density sign ( basically centrally very hot and slightly less hot surrounding it)

  • Pain better with NSAIDs, typically pain at night

Osteosarcoma

  • Focal are of uptake at metaphysis of long bone

  • Kid - we know because growth plates light up

Multiple Myeloma

  • Will be hot on PET and normal on MDP

  • This is because MDP only shows osteoblastic activity which is not present in MM only the destructive part

Degenerative Changes

  • Joint centered uptake, more pronounced medially

Superscan

  • Diffuse uniform tracer uptake throughout the skeleton

  • Will see concurrent decreased renal activity

  • Most commonly due to prostate carcinoma

  • Other things looking similar if no cancer —> hyperparathyroidism

Resources: